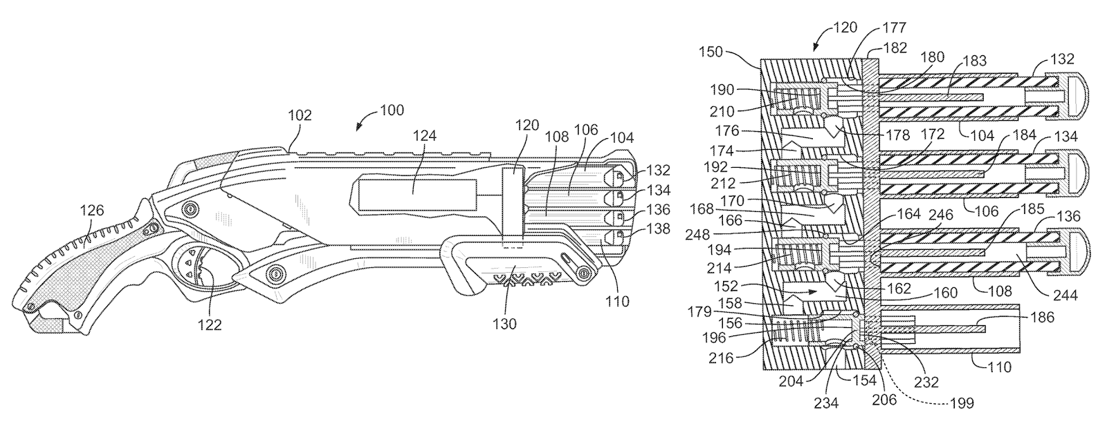
A diagram of a Rough Cut 2x4's internals, showing the blaster's smart air restrictors.
(copyright Southern Brisbane Nerf Club)
An intelligent air restrictor or smart air restrictor is an internal component found in most modern Nerf blasters.
Details[]
Intelligent air restrictors are a variant of the air restrictor component found on most blasters. They can be found in many modern front-loading Nerf blasters. While blasters with intelligent air restrictors have an order in which a blaster will fire darts when it is fully loaded, they allow the blaster to fire darts loaded in any barrel when it is not fully loaded. Because of the intelligent air restrictor system, it can detect what barrels are loaded and which are not, and will skip any unloaded barrels to the next available dart to fire.
More than one dart can be fired at a time by not loading darts into blasters properly. If darts are not loaded in all the way, the air restrictor system will not recognize them. If it does not recognize any loaded darts, the blaster will discharge air out of every barrel when it is fired.
Worn darts may not have enough friction to be seated properly in the chamber, which may cause the spring of the air restrictor to push out the dart, and not be able to detect it.
Typically, the first dart fired from an intelligent air restrictor turret is the most powerful, while the last dart is the least powerful. This is because the air has to travel a farther distance to get to the last dart compared to the first, losing energy along the way.
Modification[]
If intelligent air restrictors are removed from a blaster, then all barrels will fire at once since the blaster no longer has a way to detect loaded darts. These darts will have significantly less power than darts fired from an unmodified blaster.
History[]
The first blaster to feature an intelligent air restrictor was the Rough Cut 2x4 in 2013.
List of blasters with intelligent air restrictors[]
For a list of all blasters with intelligent air restrictors, see Category:Blasters with intelligent air restrictors.
Trivia[]
- Because Hasbro patented this air restrictor design, Nerf is the only brand that features blasters with this type of air restrictor.
- This does not apply to some bootleg manufactured blasters, as patents are usually ignored overseas. For example, the company Blaze Storm made a copy of the Rough Cut 2x4 with an intelligent air restrictor system.
| view • editBlaster anatomy | |
|---|---|
| External features | Barrel • Clip well • Cylinder • Jam door • Muzzle • Priming indicator • Priming mechanism • Safety • Sling mount • Tactical rail (RIVAL • BOOMco. • Buzz Bee • Dart Zone • X-Shot • Picatinny) • Trigger (Acceleration trigger • Firing trigger) • Turret • Unjamming button |
| Firing mechanisms | Air bladder • Air tank • Flywheel • Plunger (Direct • HAMP • Motorized direct • Reverse) • String |
| Dart delivery | Bolt sled • Breech • Conveyor system • Dart tooth • Pusher mechanism • Rotation mechanism |
| Plunger parts | Catch • O-ring • Plunger head • Plunger tube • Plunger rod • Spring (Torsion) |
| Other internals | Air restrictor (Intelligent) • Dart post • Flywheel cage • Hop-up tab • Lock |